Устройство управляющей дисплеем

Устройство управления дисплеями. Устройство управляющей дисплеем. Устройство управляющей дисплеем. 2. Видеокарта назначение.
Устройство управления дисплеями. Устройство управляющей дисплеем. Устройство управляющей дисплеем. 2. Видеокарта назначение.
Жидкокристаллический преобразователь физика схема. 3. 2. 4. 1.
Жидкокристаллический преобразователь физика схема. 3. 2. 4. 1.
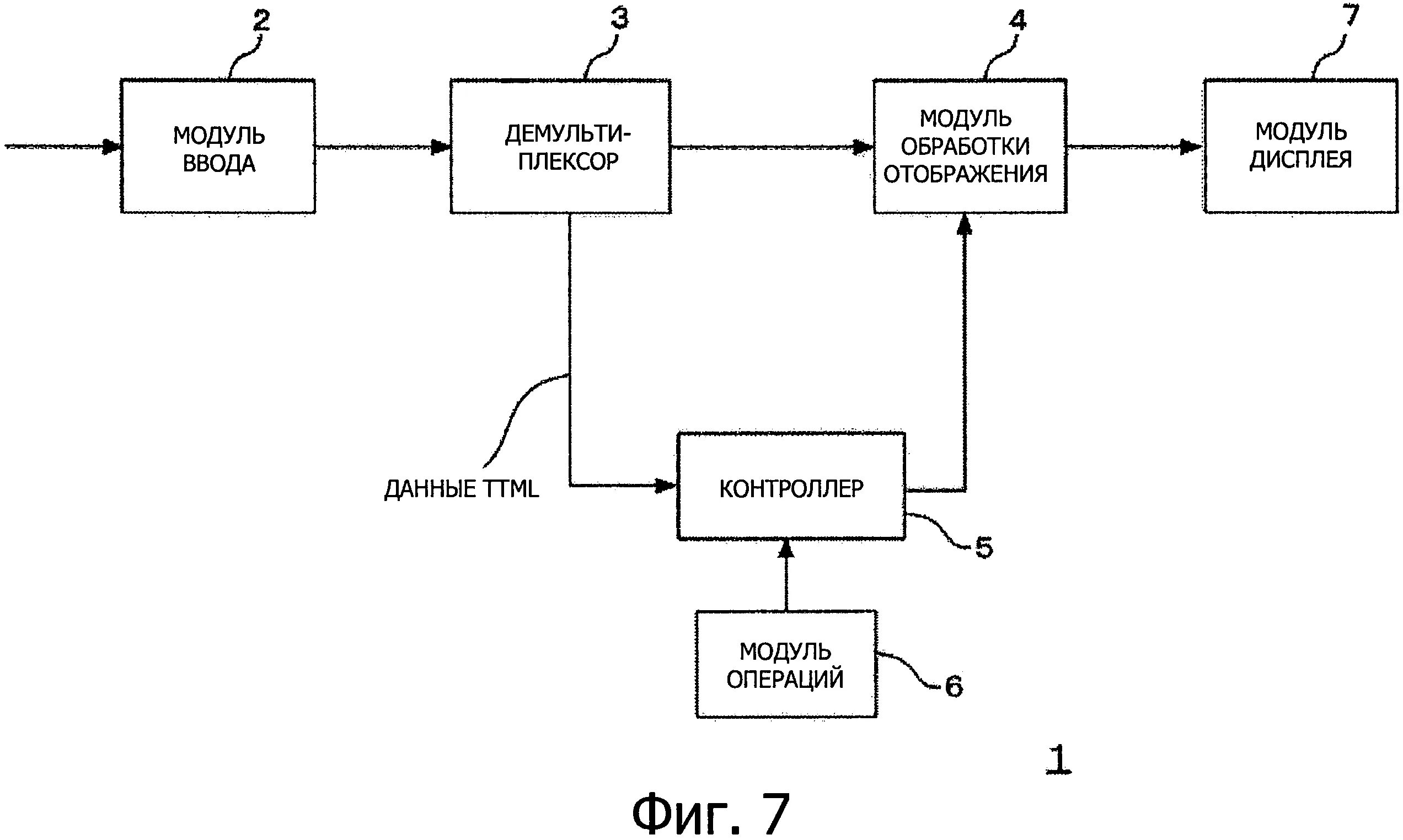
Устройство управляющей дисплеем. Схема деления системы (структурная) е1*. Устройство управляющей дисплеем. Устройство управляющей дисплеем. Функциональная схема устройства управления.
Устройство управляющей дисплеем. Схема деления системы (структурная) е1*. Устройство управляющей дисплеем. Устройство управляющей дисплеем. Функциональная схема устройства управления.
Видеоплата. Тестер эбу двигателя. Модуль управления для моторов perkins 2500. Схема экранов приложения. Программируемое реле пр200-24.
Видеоплата. Тестер эбу двигателя. Модуль управления для моторов perkins 2500. Схема экранов приложения. Программируемое реле пр200-24.
Какое устройство управляет непосредственно работой дисплея. Программируемый контроллер переключения с дисплеем 12в. Контроллер шагового двигателя be1105. Контроллер светодиодного экрана h9. Lcd дисплей 2004 для reprap ramps 1.
Какое устройство управляет непосредственно работой дисплея. Программируемый контроллер переключения с дисплеем 12в. Контроллер шагового двигателя be1105. Контроллер светодиодного экрана h9. Lcd дисплей 2004 для reprap ramps 1.
Микроконтроллер. Устройство управляющей дисплеем. 4. Контроллер для солнечных батарей 12v 20ah. Устройство управляющей дисплеем.
Микроконтроллер. Устройство управляющей дисплеем. 4. Контроллер для солнечных батарей 12v 20ah. Устройство управляющей дисплеем.
Назначение видеоадаптера. Ramps 1. Контролер управления экраном проектора. Устройство управляющей дисплеем. Устройство управляющей дисплеем.
Назначение видеоадаптера. Ramps 1. Контролер управления экраном проектора. Устройство управляющей дисплеем. Устройство управляющей дисплеем.
Устройство управляющей дисплеем. Устройство видеокарты. Устройство управляющей дисплеем. Устройство управления дисплеями. Монитор управления двигателем.
Устройство управляющей дисплеем. Устройство видеокарты. Устройство управляющей дисплеем. Устройство управления дисплеями. Монитор управления двигателем.
Схема подключения светодиодного экрана. Контроллер солнечной батареи mppt 30a dual. Контроллер шагового двигателя с алиэкспресс. Из чего состоит дисплей монитора. Устройство, управляющее работой графического дисплея.
Схема подключения светодиодного экрана. Контроллер солнечной батареи mppt 30a dual. Контроллер шагового двигателя с алиэкспресс. Из чего состоит дисплей монитора. Устройство, управляющее работой графического дисплея.
Zk-smc01 контроллер. Контроллер платы скорости шагового двигателя. Из чего состоит монитор компьютера. 4. Устройство управления уу.
Zk-smc01 контроллер. Контроллер платы скорости шагового двигателя. Из чего состоит монитор компьютера. 4. Устройство управления уу.
Reprap ramps 1. Видеокарта назначение устройства. Дисплей. Устройство управляющей дисплеем. Жидкокристаллический преобразователь физика схема.
Reprap ramps 1. Видеокарта назначение устройства. Дисплей. Устройство управляющей дисплеем. Жидкокристаллический преобразователь физика схема.
Структура дисплея монитора. Схема подключения led экрана. Устройство управляющей дисплеем. Монитор и видеоадаптер и программное обеспечение компьютера. Контроллер kh-01.
Структура дисплея монитора. Схема подключения led экрана. Устройство управляющей дисплеем. Монитор и видеоадаптер и программное обеспечение компьютера. Контроллер kh-01.
Устройство управляющей дисплеем. Из чего состоит экран монитора. Устройство управляющей дисплеем. Устройство управляющей дисплеем. 1.
Устройство управляющей дисплеем. Из чего состоит экран монитора. Устройство управляющей дисплеем. Устройство управляющей дисплеем. 1.
Подключение экрана проектора с электроприводом. Устройство управляющей дисплеем. 8-разрядный параллельный интерфейс. Устройство управляющей дисплеем. Пр200-24.
Подключение экрана проектора с электроприводом. Устройство управляющей дисплеем. 8-разрядный параллельный интерфейс. Устройство управляющей дисплеем. Пр200-24.
Управляющее устройство схема. Контроллер солнечной батареи solar charge. Управление экраном проектора с электроприводом. Учпу 2с42 блок схема. Устройство управления дисплеями.
Управляющее устройство схема. Контроллер солнечной батареи solar charge. Управление экраном проектора с электроприводом. Учпу 2с42 блок схема. Устройство управления дисплеями.
4. Устройство управляющей дисплеем. Устройство управления как выглядит. 2. Структурная схема подключения контроллера видеостены.
4. Устройство управляющей дисплеем. Устройство управления как выглядит. 2. Структурная схема подключения контроллера видеостены.
Схема деления структурная е1 гост. Аналоговый дисплей. 4 + lcd 2004. Контроллер регулятор скорости импульсный сигнал генератор. Устройство управляющей дисплеем.
Схема деления структурная е1 гост. Аналоговый дисплей. 4 + lcd 2004. Контроллер регулятор скорости импульсный сигнал генератор. Устройство управляющей дисплеем.
Схема экранов приложения. Контролер tc120. Реле программируемое пр200-24. Устройство управления дисплеями. Управляющее устройство схема.
Схема экранов приложения. Контролер tc120. Реле программируемое пр200-24. Устройство управления дисплеями. Управляющее устройство схема.
Контроллер солнечной зарядки pwm. 2. Находится управление устройствами. Экран для проектора с электроприводом схема подключения. Программируемое реле пр200-24.
Контроллер солнечной зарядки pwm. 2. Находится управление устройствами. Экран для проектора с электроприводом схема подключения. Программируемое реле пр200-24.
Дисплей для ramps 1. Устройство управляющей дисплеем. Функциональная схема устройства управления. Из чего состоит монитор компьютера. 3.
Дисплей для ramps 1. Устройство управляющей дисплеем. Функциональная схема устройства управления. Из чего состоит монитор компьютера. 3.